Пневмогидравлический стенд клепки расклепки тормозных накладок HUNGER N333

N333  Пневматический стенд клепки расклепки тормозных накладок
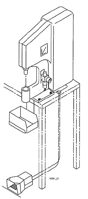
Cтенд N 333 является надежным и точным стендом, который особенно востребован для быстрого и безопасного обслуживания тормозных систем грузовых автомобилей.
При использовании N333, быстрая и правильная клепка и расклепка накладок тормозных колодок становится легкой и комфортабельной работой.
catalog list
tiles
Пневматический стенд для клепки/расклепки N333 с подружиненным инструментом на 5, 6, 8 мм

Пневматический стенд для клепки и расклепки HUNGER N333 с подпружиненным инструментом на 5, 6, 8 мм

Артикул: 333.00.100.50
Модель: 333.00.100.50

Цена по запросу
N333 пневматический стенд для клепки/расклепки, без инструмента

N333 пневматический стенд для клепки/расклепки, без инструмента

Артикул: 333.50.100.00
Модель: 333.50.100.00

Цена по запросу
Педаль управления N 333

Педаль управления N 333

Артикул: 326.17.070.0
Модель: 333.82.200.00

Цена по запросу
слоган